Drabinka basenowa 3-stopniowa MIXED LUXE ASTRAL POOL
Drabinka basenowa Astral Pool przeznaczona dla basenów zgłębianych. Szerokość 500 mm. Poręcze i stopnie wykonane z polerowanej stali nierdzewnej. Stopnie posiadają właściwości antypoślizgowe. Dostarczane w komplecie z kotwami mocującymi.
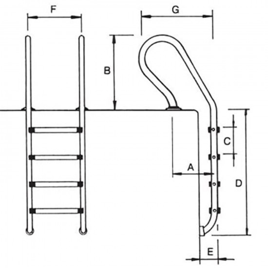
Wymiary drabinki basenowej ASTRAL POOL

| Liczba stopni | Rodzaj stopni | A [mm] | B [mm] | C [mm] | D [mm] | E [mm] | F [mm] | G [mm] |
| 2 | Luxe | 350 | 620 | 250 | 710 | 180 | 500 | 522 |
| 3 | Luxe | 350 | 620 | 250 | 960 | 180 | 500 | 522 |
| 4 | Luxe | 350 | 620 | 250 | 1210 | 180 | 500 | 522 |
| 5 | Luxe | 350 | 620 | 250 | 1460 | 180 | 500 | 522 |
Potrzebujesz pomocy?
Jeśli nie znalazłeś odpowiedzi na swoje zapytanie, skorzystaj z formularza poniżej i napisz jak możemy Ci pomóc? Zapewniamy szybki kontakt i kompleksową obsługę.
Dobór pompy do basenu, czyli jak wybrać dobry model
Na rynku znajdziemy wielu producentów oferujących pompy do basenu. Prześcigają się oni w kolorach, kształtach i hasłach reklamowych. Można łatwo pogubić się w tym wszystkim i zadać sobie pytania, którą pompę mam wybrać. Odpowiedź jest bardzo prosta – odpowiednią.
Read morePompa do basenu, co to i czy jest potrzebna
Basen w ogrodzie lub na działce w upalne dni to marzenie wielu osób. Jednak sporo z nich nie jest świadoma, że aby korzystać z uroków kąpieli przez całe lato, nie wystarczy postawić zbiornik i zalać go wodą. Trzeba również dbać o to, aby woda była krystalicznie czysta i nie tworzyły się w niej glony oraz drobnoustroje.
Read more
Tomasz Tomkowicz
Specjalista Technologii Basenowej
Dziękuję, że przeczytałeś nasz artykuł, jeżeli masz więcej pytań lub potrzebujesz bardziej specjalistycznej pomocy - napisz do mnie korzystając z formularza.
Jestem bardzo zadowolona z usług tej firmy. Każdy nam odmawiał pomocy, nawet firma montująca basen. Pool system zjawił się i doprowadził basen sprzed paru lat do stanu używalności, co więcej dokonał napraw uszczelniających co spowodowało ze basen stał się w pełni sprawny. Naprawdę polecam !
Bardzo miła i sympatyczna obsługa oraz fachowe doradztwo techniczne.
Bardzo profesjonalna i cierpliwa obsługa. Odbierają telefony, wszystko dokładnie wytłumaczą, wysyłają praktycznie na drugi dzień każdą część którą potrzebuje klient. Pan Krzysztof z serwisu rzetelnie podpowie co zrobić i jak rozwiązać swój basenowy problem, jeśli chcemy majstrować przy basenie sami. Pan Paweł i Marcin też skarbnica wiedzy technologii basenowej. Dobre ceny. Polecam firmę i pozdrawiam zespół POOLSYSTEM
Jak budujesz basen to to miejsce jest dla ciebie, osprzęt, doradztwo i miła obsługa.
Super obsługa doradzi pomoże,ceny na duży plus .Polecam
Bardzo mili ludzie, to naprawdę profesjonaliści. Nie lubię zakupów, ale spotkanie z Nimi było bardzo przyjemne.
