HEVONIC B 70 pool heat exchanger
HEXONIC heat exchanger model B is a shell-and-tube heat exchanger equipped with straight corrugated tubes. It is used in installations where there are high flows of the medium compared to the thermal power transferred. It is a proven solution for swimming pool, solar or small oil preheating systems.
The use of corrugated tubes intensifies heat transfer and increases the possibility of self-cleaning.
- Power: 20 kW
- Heat exchange area: 0.18 m2
- Hot water: 25 l/min (flow)@ 0.8 kPa (pressure drop)
- Cold water: 170 l/min (flow)@ 8.6 kPa (pressure drop)
- Thread: 1 1/2" (D)@ 3/4" (E)
- Designed for swimming pools up to 24 m3

Technical data of the HEXONIC B70 exchanger
| Operating parameters max. pressure / max. temp. | 16bar / 203°C |
| Tube diameter [mm] | 8 |
| Heat exchange area [m2] | 0,18 |
| Volume of tube side [l] | 0,64 |
| Volume of jacket side [l] | 0,88 |
| Weight [kg] | 3 |
| Type of execution | 316L stainless steel |
| Type connections | female thread |
| Dimensions of connections | G¾” G1" |
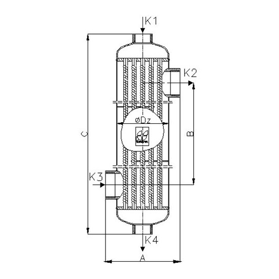
| Dimensions [mm] | A:122 / B:175 / C:389,5 / Dz:80 |
Dimensions of the HEXONIC B70 heat exchanger

| K1, K4 | K2, K3 | |
| B70 | G3/4” | G1 1/2” |
Need help?
If you have not found the answer to your inquiry, please use the form below and write how we can help you?. We provide quick contact and comprehensive service.
Swimming pool heating, Which technology is best?
Walruses are becoming increasingly popular in Poland, but it is still a niche hobby. Humans by nature are thermophilic, so the desire to bathe in warm bodies of water is not surprising. If we own a swimming pool, we would also like the water in it to be at the right temperature.
Read more
Tomasz Tomkowicz
Pool Technology Specialist
Thank you for reading our article, if you have more questions or need more specialized help - write to me using the form.
Jestem bardzo zadowolona z usług tej firmy. Każdy nam odmawiał pomocy, nawet firma montująca basen. Pool system zjawił się i doprowadził basen sprzed paru lat do stanu używalności, co więcej dokonał napraw uszczelniających co spowodowało ze basen stał się w pełni sprawny. Naprawdę polecam !
Bardzo miła i sympatyczna obsługa oraz fachowe doradztwo techniczne.
Bardzo profesjonalna i cierpliwa obsługa. Odbierają telefony, wszystko dokładnie wytłumaczą, wysyłają praktycznie na drugi dzień każdą część którą potrzebuje klient. Pan Krzysztof z serwisu rzetelnie podpowie co zrobić i jak rozwiązać swój basenowy problem, jeśli chcemy majstrować przy basenie sami. Pan Paweł i Marcin też skarbnica wiedzy technologii basenowej. Dobre ceny. Polecam firmę i pozdrawiam zespół POOLSYSTEM
Jak budujesz basen to to miejsce jest dla ciebie, osprzęt, doradztwo i miła obsługa.
Super obsługa doradzi pomoże,ceny na duży plus .Polecam
Bardzo mili ludzie, to naprawdę profesjonaliści. Nie lubię zakupów, ale spotkanie z Nimi było bardzo przyjemne.
